Na zestawach kołowych opiera się cały ciężar parowozu. Istotne jest by jak największa jego część spoczywała na zestawach wiązanych, połączonych wiązarami z zestawem napędnym (silnikowym) na który przenoszony jest napęd, aby osiągnąć jak największą przyczepność, a co za tym idzie, siłę pociągową. Zestawy kołowe, na które nie jest przenoszona siłą napędowa, a które służą jedynie do podtrzymywania ciężaru parowozu lub jego prowadzenia w łukach, noszą nazwę zestawów tocznych.
Średnica zestawów wiązanych jest ograniczona maksymalną ilością obrotów, jaką może wykonać silnik parowy, by jego praca pozostała spokojna i sprawna. Jak łatwo się domyślić, ilość obrotów zależy od prędkości maksymalnej jaką osiąga parowóz, tak więc im szybszy ma on być, tym większą średnicę muszą mieć jego zestawy napędne.
Maksymalna ilość obrotów, jaką silnik parowy może wykonać w ciągu minuty wynosi 320 - 360. Tak więc parowozy osiągające prędkości do 80 km/h mogą mieć zestawy wiązane o średnicy kół 1450 mm, parowozy osobowe - 1750 mm, a pośpieszne nawet więcej. Parowozy Pt47 budowane dla prędkości 110 km/h mają koła napędne o średnicy 1850 mm, Pm36, mogący jeździć 130 km/h - 2000 mm, podobnie jak np Pm2. Parowozy o szybkości do 180 km/h posiadają natomiast koła napędne o średnicy aż 2300 mm.
Aby zapewnić jak najpewniejsze prowadzenie parowozu w łukach, koła toczne mają o wiele mniejsze średnice. Na PKP średnice przednich kół tocznych wynosiły najczęściej 850, 900 lub 1000 mm, a tylnych 1100 lub 1250 mm.
Zestaw toczny
- Koło bose
- Obręcz
- Piasta
- Podpiasta
- Czop osi
Zestaw wiązany
- Koło bose
- Obręcz
- Piasta
- Podpiasta
- Ramię korby
- Czop korbowy
- Odciążek
- Czop wiązarowy
- Czopy osi
- Wewnętrzne czopy osi
Zestaw napędny
- Koło bose
- Obręcz
- Piasta
- Podpiasta
- Ramię korby
- Czop korbowy
- Klin
- Odciążek
- Czop wiązarowy
- Czop korbowodowy
- Przeciwkorba
- Czopy osi
Koła
Na rysunku: obręcz wraz z pierścieniem zaciskowym - przekrój.
- Koło bose
- Wycięcie w obręczy
- Pierścień zaciskowy
- Obręcz
- Obrzeże
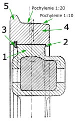
Koło parowozu składa się z koła bosego odlanego razem z piastą. W polskich parowozach stosowane były wyłącznie koła szprychowe. W niektórych parowozach niemieckiej budowy wojennej dość długo zachowały się również koła toczne pełne. Na kole bosym osadza się obręcz. Aby obręcz ściśle przylegała do koła bosego, wykonuje się ją nieco za małą - dla każdego metra średnicy koła, średnica wewnętrzna obręczy powinna być o 1 mm mniejsza. Po podgrzaniu obręcz zwiększa swoją objętość (a zatem i średnicę), można ją wówczas swobodnie nałożyć na koło bose. Po ostygnięciu obręcz ściska ze wszystkich stron koło bose. Przed zsunięciem się obręczy z koła bosego zabezpiecza z jednej strony pierścień zaciskowy wchodzący w specjalne wycięcie w obręczy, a z drugiej strony - specjalne wycięcie w obręczy, do którego przylega koło bose. Grubość nowej obręczy wynosi 75 mm, a grubość maksymalnie zużytej nie powinna być mniejsza niż 30 mm. Obręcz jest ponadto zaopatrzona w obrzeże, którego zadaniem jest zabezpieczenie parowozu przed wypadnięciem z szyn. Powierzchnia toczna obręczy jest stożkowa, dzięki czemu koła nie ślizgają się w łukach. Dzieje się tak dlatego, że w łuku siła odśrodkowa spycha parowóz w kierunku szyny zewnętrznej, zatem po szynie zewnętrznej toczy się część obręczy o większej średnicy, a po wewnętrznej - część o mniejszej średnicy.
W przypadku, kiedy obrzeże na skutek zużycia staje się ostre lub z boku jest starte o więcej niż 2 mm, należy obręcze obtoczyć. Czynność tę należy wykonać również wówczas, gdy na powierzchni tocznej obręczy powstały płaskie miejsca większe niż 2 mm (w parowozach pociągowych) lub 4 mm (w parowozach manewrowych).
W piaście koła osadzona jest podpiasta, a w niej oś. Wszystkie te części są wprasowywane na siebie pod dużym ciśnieniem.
W kołach napędnych i wiązanych razem z piastą odlewa się ramię korby, w które wprasowany zostaje czop korbowy, na którym osadza się wiązary i korbowód (na kołach osi napędnej). Czopy korbowe kół napędnych posiadają dodatkowo klin zabezppieczający je przed obracaniem się.
Razem z kołami bosymi zestawów napędnego i wiązanych odlewane są odciążki (przeciwwagi), których zadaniem jest równoważenie ruchomych mas czopa, wiązarów i korbowodu. Ponieważ na kołach osi napędnej są osadzone zarówno wiązary jak i korbowód oraz przeciwkorba, odciążek na tych kołach wykonuje się jako podwójny, aby jego masa rónoważyła masy w/w części.
Osie
Osie napędne, wiązane i toczne nie różnią się zasadniczo między sobą. Jedynie osie toczne są słabsze, podczas gdy wiązane i napędna są identyczne. Wyjątek stanowią tu osie wykorbione stosowane w parowozach 3 i 4-cylindrowych.
Końce osi osadzone są w podpiastach, na które wprasowane są koła. Na czopach osi spoczywają maźnice łożysk osiowych. W przypadku osi o przesuwie bocznym, czopy te są szersze od maźnic o taką wielkość, o jaką oś może się przesuwać. Na niektórych osiach wiązanych są ponadto umieszczone czopy wewnętrzne służące do zawieszenia wózka tocznego. W niektórych parowozach dla zmniejszenia masy osi, są one na całej długości wydrążone.

Poniższe rysunki przedstawiają wygląd osi wykorbionej. Po lewej: w parowozie 3-cylindrowym, po prawej: w parowozie 4-cylindrowym.
- Czop wewnętrzny (korbowodowy)
Dopuszczalne wymiary zestawu kołowego.