Przyrządy wodowskazowe służą do kontroli poziomu wody w kotle. Kontrola ta ma kluczowe znaczenie dla bezpieczeństwa obsługi parowozu. Przepisy kotłowe stanowią, że poziom wody ponad podniebieniem nie powinien być niższy niż 10 cm. W przeciwnym wypadku mogłoby dojść do nadmiernego rozgrzania ścian paleniska, skutkiem czego może być ich wydęcie lub nawet eksplozja kotła. Na każdym parowozie powinny być dwa urządzenia wskazujące poziom wody, działające niezależnie od siebie. Zasadniczo stosowane są dwa rodzaje takich przyrządów: są to kurki probiercze oraz wodowskaz.
Kurki probiercze
Z reguły stosuje się zestaw trzech kurków probierczych, umieszczonych na różnej wysokości, w taki sposób, że najniższy z nich znajduje się na wysokości najniższego dopuszczalnego poziomu wody w kotle. Jeśli zostanie otwarty, zawsze powinna z niego wypływać woda. Z najwyższego kurka zawsze powinna wypływać para, a ze środkowego woda lub para.
Kurki probiercze okazały się niezbyt praktycznym przyrządem wskazującym poziom wody, ponieważ na skutek częstego otwierania tracą szczelność i wówczas wypływa z nich zarówno woda jak i para.
Ponadto gorąca woda z dolnego kurka paruje, a para z górnego skrapla się, tak więc widoczna widać zarówno wodę jak i parę, co może wprowadzić drużynę w błąd co do rzeczywistego poziomu wody w kotle.
Wodowskazy
Aby uniknąć problemów powstających przy stosowaniu kurków probierczych, na wielu parowozach stosuje się dwa wodowskazy, działające niezależnie od siebie. Ich działanie oparte jest na zasadzie naczyń połączonych.
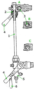
Typowy wodowskaz składa się z rurki szklanej (szkła wodowskazowego) połączonej od góry z przestrzenią parową kotła a od dołu z przestrzenią wodną. Zarówno górne jak i dolne połączenie jest zaopatrzone w kurek odcinający, umożliwiający odcięcie wodowskazu np. w przypadku stłuczenia szkła. We wnętrzu kurków odcinających umieszczone są kulki, które w przypadku stłuczenia szkła pod wpływem ciśnienia pary zatykają kurek. Ponadto wodowskaz posiada również kurek umożliwiający przedmuchanie szkła oraz jego połączeń z kotłem. Na ścianie stojaka za wodowskazem umieszcza się tabliczkę malowaną w białe i czarne pasy, na których wyraźniej widać poziom wody w szkle, dzięki temu, że paski widziane poprzez słup wody wydają się być ukośne w odwrotną stronę niż widziane bezpośrednio. Na tabliczce tej jest również oznaczony najniższy dopuszczalny poziom wody (NPW).
- szkło wodowskazowe
- uszczelka gumowa
- kulka kurka odcinającego
- rączka kurka odcinającego
- dolny kurek
- rączka dolnego kurka
W położeniu otwartym (A) rączki kurków skierowane są w dół, a kulki leżą na dole. W przypadku uszkodzenia szkła, strumień wypływającej pary porywa kulkę, przesuwa ją do otworu kurka tym samym go zamykając.
Jeśli rączki kurków ustawimy poziomo (B), wówczas kurki są zamknięte a wodowskaz jest odcięty od kotła i wówczas, jeśli zachodzi konieczność, można wymienić szkło wodowskazowe.
Ustawienie rączek kurków w górę (C), powoduje ułożenie kulek w takim punkcie, że ani woda ani para nie mogą ich porwać. Wówczas można przedmuchać wodowskaz. A tego dokonuje się w sposób następujący:
- zamknąć oba kurki odcinające i otworzyć trzeci kurek, umieszczony u spodu wodowskazu, a następnie:
- ustawić górny kurek odcinający w pozycję C aby przedmuchać górne połączenie wodowskazu z kotłem oraz szkło
- ustawić w pozycję C dolny kurek odcinający (przy zamkniętym górnym) aby przedmuchać dolne połączenie wodowskazu z kotłem
Wodowskaz działa poprawnie wówczas, gdy otwarte są oba połączenia z kotłem. Jeśli zamkniemy górne połączenie, wówczas ciśnienie pary naciskając na powierzchnię wody w kotle spowoduje wypełnienie szkła wodowskazu wodą. Jeśli natomiast zamkniemy dolne połączenie, poziom wody w szkle nie będzie się zmieniał. Podobnie stanie się w przypadku zamknięcia obu połączeń, czyli odcięcia wodowskazu.
Błędne wskazania wodowskazu może spowodować również niecałkowite otwarcie obu połączeń, a zwłąszcza górnego. W takim wypadku na skutek dławienia pary, w górnej części wodowskazu będzie panować niższe ciśnienie niż w kotle i poziom wody widoczny w szkle będzie zawyżony.
Nieco zawyżony poziom wody wodowskaz pokazuje również podczas otwarcia przepustnicy. Wówczas para uchodzi z kotła, a woda gwałtownie paruje i na skutek obecności w niej pęcherzyków pary, ma większą objętość.
Oprócz opisanych wyżej wodowskazów, na niektórych parowozach stosowane są wodowskazy Klingera, różniące się nieznacznie budową. W tych wodowskazach rurka szklana zastąpiona jest metalową przechodzącą w swojej środkowej części w podłużną, otwartą z przodu komorę. W otwartej części komory umieszczone jest szkło żłobkowane. Poziom wody w tym wodowskazie jest wyraźnie widoczny, dzięki temu, że część wodowskazu wypełniona wodą jest ciemna, a reszta jasna.