Interesujące? Wesprzyj Krainę Żywych Maszyn kupując mi kawę ;-) Postaw mi kawę na buycoffee.to

W miarę rozwoju parowozów, rosła ich moc i prędkość, a co za tym idzie, rozmiary. Parowozy musiały mieć coraz więcej osi, by nie przekroczyć dopuszczalnego nacisku na oś. Rosnąca liczba osi powodowała problemy z wpisywaniem się parowozu w łuki. Pojawiły się też inne problemy, takie jak skłonność do wężykowania, którą posiadały zwłaszcza maszyny z dużą masą wysięgu ostoi przed i za stałym rozstawem osi. Dlatego też w parowozach osobowych dodawano osie toczne z przodu i/lub z tyłu parowozu. W maszynach towarowych takie rozwiązanie było niezbyt korzystne, ze względu na fakt, iż rozłożenie części masy parowozu na osie toczne zmniejszało masę przyczepną lokomotywy, a co za tym idzie moc na haku. Z kolei maszyny ze zbyt dużą liczbą osi osadzonych w sztywnej ostoi nie były zbyt elastyczne i na łukach dochodziło do wykolejeń, zwłaszcza przy większych prędkościach.

Praktyczne próby rozwiązania problemu przechodzenia parowozu przez łuki podjęto w 1851 roku, a do 1852 roku Bissel i Mason skonstruowali przedni wózek dwuosiowy w takiej formie w jakiej go znamy dzisiaj: może on się obracać dookoła osi czopa skrętu oraz przesuwać na boki. Jest też wyposażony w sprężynowy nastawiacz powrotny pozwalający utrzymać wózek w położeniu środkowym podczas jazdy po prostej.

Wózek toczny dwuosiowy

W 1857 roku w USA pojawił się jednoosiowy półwózek Bissela, z osią toczną na dyszlu:

Półwózek Bissela

W porównaniu z innymi rozwiązaniami, stosowanymi też na starym kontynencie, wózek ten był wyposażony w nastawiacz powrotny, dzięki któremu dobrze sprawdzał się jako oś prowadząca. W Ameryce rozpowszechnił się on bardzo szybko, z początku jako prowadząca oś toczna, później największe zastosowanie znalazł jako wózek tylny, podtrzymujący wielkie paleniska kotłów amerykańskich parowozów. Ze względu na potrzebę wygospodarowania jak największej przestrzeni nad osiami tocznymi przeznaczonej na ruszt i popielnik, wózek ten przybierał postać jedno- lub dwuosiowego wózka typu delta z zewnętrzną ostoją:

Wózek typu delta

W Europie rozpowszechnił się blisko 40 lat później.

W 1863 roku William Adams stworzył kolejne rozwiązanie jednoosiowego wózka tocznego, tzw oś Adamsa:

Oś Adamsa

Zmienił on ustawienie tulei łożyskowych osi tocznej w taki sposób, by mogła się ona zarówno przesuwać jak i obracać. Oczywiście wózek był wyposażony w nastawiacze powrotne utrzymujące go w położeniu środkowym podczas jazdy po torze prostym. Mechanizm tego wózka starał się także siłami reakcji naprowadzić parowóz na łuk zanim zrobią to obrzeża pierwszej osi wiązanej. Ułatwiło to znacznie wpisywanie siię parowozu w łuki, a także zmniejszyło zużycie obrzeży kół osi wiązanych.

Kolejnym rozwiązaniem problemu wpisywania się parowozu w łuki był wózek systemu Kraussa-Helmholtza, wprowadzony w 1888 roku. Umożliwiał on skręt osi tocznej i przesunięcie połączonej z nią osi wiązanej, był też wyposażony w sprężynowy lub grawitacyjny nastawiacz powrotny:

Wózek Kraussa-Helmholtza
Wózek Kraussa-Helmholtza
Wózek Kraussa-Helmholtza parowozu Pt47

Powyżej opisane konstrukcje okazały się wystarczające do rozwiązania problemu jazdy szybszych parowozów po łukach. Pozostał natomiast jeszcze problem jazdy w górach, gdzie warunki terenowe (wzniesienia oraz liczne i ostre łuki) nie pozwalają na zastosowanie osi tocznych ze względu na to iż kostrukcje z osiami tocznymi nie zapewniają odpowiedniej przyczepności.

Problem ten próbowano rozwiązać już podczas zawodow parowozów na przełączy Semmering w Alpach austriackich w 1851 roku dzieląc ostoję. Tak powstały parowozy wieloczłonowe.

Dwa wózki skrętne, na których był osadzony podwójny kocioł wyposażony w dwa paleniska stanowiły system Fairliego:

A dwa wózki skrętne, na których oparto "klasyczne" nadwozie, tworzyły różne odmiany systemu Meyera:

System ten występowal w różnych wersjach, znanych jako: Günthera-Meyera w Niemczech, Bosqueta-Meyera we Francji oraz Kitsona-Meyera oraz tzw "modified Fairlie" w Wielkiej Brytanii.

Podstawowym problemem konstrukcyjnym w parowozach z dwoma wózkami skrętnymi było uszczelnienie przegubów przewodów doprowadzających parę do cylindrów umieszczonych na wózkach. Kolejną trudność stanowiła niespokojna jazda lekkich wózków, które miały tendencję do obracania się wokół pionowej osi na skutek dużych sił przenoszonych przez korbowód. Tendencja ta pojawiała się już przy małej prędkości. Próbowano temu zaradzić przez montaż ukośnych cięgien pomiędzy wózkami, jednak nie rozwiązało to problemu.

W Polsce można było spotkać parowozy systemu Meyera na sieci wyrzyskich wąskotorówek. Były to maszyny 4-ro osiowe oznaczone jako Tx10-571 i 572. Pracowały one do 1950 roku. Trzy maszyny systemu Kitson-Meyera pojawiły się też na kolei mławskiej. Były to Tyy691, Tyy692 i Tyy693. Osobowe "Meyery" pojawiły się też w latach 1918-1923 na warszawskiej DKP.

Inaczej sprawa miała się w przypadku parowozów systemu Malleta:

W tym przypadku tylna część ostoi była sztywna, a tylko przedni wózek napędny był skrętny. Oś obrotu wózka nie znajdowała się na jego środku, ale na przodzie sztywnej części ostoi. Tak na dobrą sprawę był to po prostu wielki wózek Bissela wyposażony w napęd ;-)

Nie bez znaczenia jest fakt że Mallet był też wynalazcą silnika sprzężonego. Zastosował go na swoim parowozie skonstruowanym w 1886 roku umieszczając cylindry niskoprężne na wózku obrotowym a wysokoprężne na sztywnej części ostoi. Tak więc odpadła konieczność uszczelniania przewodów parowych wysokiego ciśnienia.

Jak się okazało, parowozy wieloczłonowe z silnikami sprzężonymi charakteryzowały się dość niespokojną jazdą i skłonnością do poślizgu zestawów napędnych wywołanych zmianami ciśnienia w rurze przelotowej kiedy występował poślizg jednego zestawu. Częściowo problem rozwiązało zastosowanie silników czterocylindrowych z pojedynczym rozprężaniem pary, a rozwiązało całkowicie dociążenie przedniego zestawu.

Następnym typem parowozów wieloczłonowych był parowóz systemu Garrata:

Taka konstrukcja przypominała trochę system Meyera, jednakże dzięki umieszczeniu na wózkach zapasów paliwa i wody, wózki te zostały dociążone i ustraciły skłonność do wężykowania. Parowozy takie były eksploatowane głównie w Hiszpanii oraz w krajach Afryki. Do dziś jeżdżą w Zimbabwe oraz na niektórych kolejach wąskotorowych w Wielkiej Brytanii.

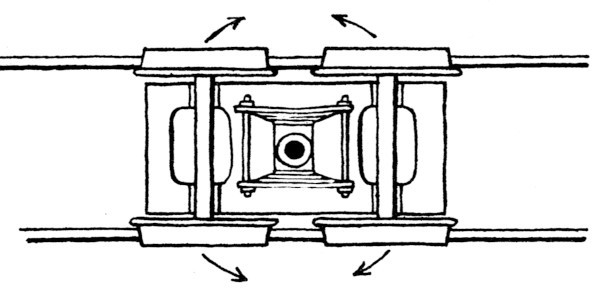
Pomimo tego, iż wieloczłonowy mechanizm ruchu umożliwiał skonstruowanie odpowiednio elastycznego parowozu oraz mimo istnienia innych rozwiązań (np systemu Luttenmoelera z napędem skrajnych osi za pomocą kół zębatych) to poszukiwano prostszych rozwiązań. Jak się okazało, prace teoretyczne von Helmholtza nasunęły Gölsdorfowi doskonałe rozwiązanie: sposób zastosowania osi przesuwnych. W 1900 roku Gölsdorf skonstruował bardzo dobry parowóz o pięciu osiach napędnych bez osi tocznych, który świetnie wpisywał się w ostre łuki. parowóz ten miał pierwszą, trzecią i piątą oś przesuwną, a druga i czwarta były sztywne. Rozwiązanie to umożliwiło budowanie pięcio- i sześcio- osiowych parowozów bez problemu pokonujących ostre łuki.

Kadłub maźnicy osi przesuwnej. Widoczna przestrzeń w jakiej oś może się przesuwać

Wieloczłonowy mechanizm ruchu i osie przesuwne nie były jedynymi rozwiązaniami ułatwiającymi przeczodzenie parowozow przez łuki. Oprócz nich stosowano też zwężone obrzeża kół osi wewnętrznych, a czasem nawet koła bez obrzeży. Niekiedy elastyczność parowozu zapewniała niezbyt sztywna ostoja, a w USA osie przesuwne były wyposażone w sprężynowe nastawiacze powrotne patentu ALCO.

Łożyska osiowe parowozów najczęściej były ślizgowe, aczkolwiek w nowocześniejszych konstrukcjach stosowano też łożyska toczne, których zastosowanie ułatwiało konserwację i obsługę (odpadał problem grzania się panewek) a także zmniejszało zużycie paliwa i wody ze względu na mniejszy opór ruchu parowozu. Kadłuby maźnic były prowadzone ślizgowo w ostoi z wykorzystaniem podkładek lub klinów nastawczych.

Interesujące? Wesprzyj Krainę Żywych Maszyn kupując mi kawę ;-) Postaw mi kawę na buycoffee.to