Interesujące? Wesprzyj Krainę Żywych Maszyn kupując mi kawę ;-) Postaw mi kawę na buycoffee.to

W róznych sytuacjach zdarza się, że siła tłokowa jest większa niż siła tarcia pomiędzy kołami parowozu a szynami, co prowadzi do poślizgu kół. Ma to miejsce najczęściej podczas stromych podjazdów lub przy gwałtownym ruszaniu z miejsca lub ruszaniu z ciężkim składem. Na zmniejszenie przyczepności parowozu mają też wpływ czynniki atmosferyczne takie jak deszcz, mgła, lód osadzający się na szynach podczas mrozów czy też opadające jesienią liście. Zadaniem piasecznicy jest zwiększenie współczynnika tarcia pomiędzy kołami osi wiązanych parowozu a szynami poprzez posypanie ich piaskiem, co pozwala w większości sytuacji wyeliminować poślizg kół.

Zasadniczym elementem piasecznicy jest zbiornik piasku umieszczony na kotle parowozu. W nim umieszcza się dobrze wysuszony piasek, który w razie potrzeby jest podawany pod koła za pomocą rur. Rury te prowadzą w pobliże miejsc, gdzie koła stykają się z szynami. Ich wyloty są ścięte równolegle do szyn i niekiedy stożkowato rozszerzone.

Piasecznica na parowozie Ty42 - na zdjęciu dobrze widać rury dostarczające piasek pod koła parowozu rozchodzące się promieniście od piasecznicy
W parowozach budowy powojennej powszechne było umiejscowienie piasecznicy we wspólnej obudowie ze zbieralnikiem pary. Na zdjęciu piasecznica na parowozie serii Pt47

Pierwsze piasecznice były napędzane ręcznie za pomocą dźwigni i cięgła. Piasecznica taka jednocześnie wzruszała piasek w zbiorniku i wpuszczała go do rur. Piasecznice takie zostały wyparte przez piasecznice o napędzie pneumatycznym. Uruchamia się je za pomocą kurka umieszczonego w budce maszynisty, który łączy główny zbiornik powietrza z dyszami umieszczonymi przy zbiorniku piasku. Dysze te wdmuchują piasek do rur prowadzących pod koła parowozu.

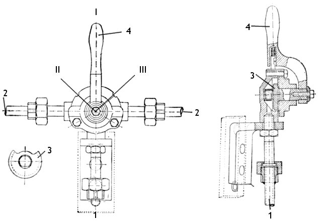
Budowa kurka powietrznego piasecznicy

Kurek powietrzny piasecznicy
  1. od głównego zbiornika powietrza
  2. do piasecznicy
  3. suwak
  4. rączka

Kurek powietrzny piasecznicy jest trójpozycyjny. W położeniu środkowym (I) odcina on piasecznicę od zbiornika powietrza. W pozostałych położeniach dysze piasecznicy są połączone z głównym zbiornikiem powietrza, przy czym pozycja II służy do jazdy naprzód, a pozycja III do jazdy w tył. Zasadniczą częścią kurka jest okrągły suwak zaopatrzony w wycięcie o kształcie umożliwiającym łączenie przewodów od zbiornika i do piasecznicy.

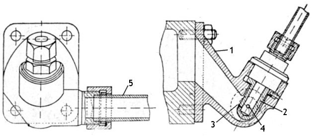
Budowa dyszy

Dysza piasecznicy
  1. kadłub dyszy
  2. dysza
  3. otwór mniejszy
  4. otwór większy
  5. rura piasecznicy

Każda dysza umieszczona jest w kadłubie przymocowanym do zbiornika piasecznicy. Powietrze wydmuchiwane przez jej mniejszy otwór rozluźnia piasek i powoduje jego wpadanie do kadłuba, a powietrze wychodzące z większego otworu kieruje piasek do rury.

Dysze piasecznicy
Dysze piasecznicy - widok z bliska. Pozioma rura z cienkimi odgałęzieniami to przewód doprowadzający powietrze. Grubsza rura wychodząca z każdej dyszy podaje piasek pod koła parowozu.

Interesujące? Wesprzyj Krainę Żywych Maszyn kupując mi kawę ;-) Postaw mi kawę na buycoffee.to