Otwór drzwiczkowy w palenisku umożliwia narzucanie paliwa na ruszt, kontrolę ognia, oczyszczanie rusztu oraz wejście do skrzyni ogniowej w celu dokonania napraw. Jednak nie może być on cały czas otwarty, gdyż powodowałoby to stałe wyziębianie skrzyni ogniowej oraz naraziło drużynę parowozową na niebezpieczeństwo poparzenia przez cofające się do budki spaliny lub nawet płomienie, ze względu na wyższe od atmosferycznego ciśnienie powietrza w palenisku. Właśnie dlatego w parowozach stosuje się drzwiczki paleniskowe.
Konstrukcja drzwiczek zmieniała się na przestrzeni dziejów, oto kilka podstawowych typów:
Drzwiczki przesuwne

Składają się one z dwóch skrzydeł przesuwanych po specjalnych prowadnicach oraz układu dźwigni służących do ich uruchamiania. Ich wadą jest duży opór ruchu, co utrudnia obsługę. Ponadto jeśli podczas, gdy są otwarte zdarzy się pęknięcie rury ogniowej lub elementu przegrzewacza, może nastąpić cofnięcie się spalin lub płomieni do budki, a tym samym niebezpieczeństwo poparzenia drużyny.
Drzwiczki otwierane na zewnątrz

Ten typ drzwiczek jest bardzo rozpowszechniony, zwłaszcza w parowozach starszej budowy i maszynach wąskotorowych. Osadzone są na klasycznych zawiasach, a uruchamia się je za pomocą dźwigni obracającej się dookoła tej samej osi co drzwiczki. W położeniu zamkniętym dźwignia może być blokowana przez specjalne widełki. Niestety, w tym przypadku istnieje niebezpieczeństwo otwarcia się niedokładnie zamkniętych drzwiczek jeśli pęknie rura ogniowa lub element przegrzewacza, co może spowodować konsekwencje podobne, jak w przypadku drzwiczek przesuwnych.
Drzwiczki Marcotty'ego
- ciężarki
- blacha ochronna
- kanały powietrzne
- wieniec drzwiczkowy
- osłona wieńca drzwiczkowego
Ta konstrukcja drzwiczek jest najbardziej rozpowszechniona w parowozach jeżdżących w Polsce. Różni się ona od poprzednio wymienionych tym, że drzwiczki te otwierają się do wnętrza paleniska, co eliminuje możliwość ich otwarcia na skutek wższego ciśnienia w skrzyni ogniowej. Osadzone są na poziomej osi umieszczonej nad otworem drzwiczkowym. Aby ułatwić ich otwieranie, przy rączkach do tego służących umieszczone są ciężarki równoważące ciężar drzwiczek. Można je otwierać całkowicie lub do połowy, przy czym utrymanie ich w tej drugiej pozycji umożliwiają specjalne wystające zęby. Od wewnątrz do drzwiczek przymocowana jest blacha chroniąca je przed przepaleniem. W osłonę chroniącą przez działaniem wysokiej temperatury jest również wyposażony wieniec drzwiczkowy.
W oprawie tych drzwiczek umieszczone są kanały doprowadzające powietrze do skrzyni ogniowej (tzw powietrze górne). Kanały te zamknięte są klapami otwieranymi do wewnątrz wówczas, gdy w skrzyni ogniowej wytworzy się odpowiednie podciśnienie (np podczas ruszania z miejsca i związanego z nim silnego wydmuchu pary, lub wówczas, gdy ruszt jest zaszlakowany i do ognia dochodzi zbyt mało powietrza).
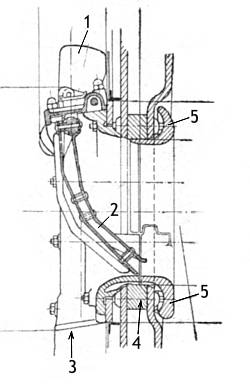
Drzwiczki pneumatyczne
- przewód powietrzny
- zawór
- pedał
- przewód powietrzny
- silnik pneumatyczny
Stosowane są one w parowozach nowszej konstrukcji (Ty246, Ol49). Otwieranie ich jest możliwe poprzez naciśnięcie specjalnego pedału lub przesunięcie dźwigni. Po zwolnieniu pedału drzwiczki samoczynnie się zamykają, co zapobiega wyziębianiu paleniska.
Drzwiczki pneumatyczne są dwudzielne i otwierają się na boki. Uruchamia je silnik działający na sprężone powietrze. Tłoczek tego silnika przesuwa segment zębaty współpracujący z drugim podobnym segmentem i tym samym otwiera drzwiczki. Powietrze do napędu drzwiczek jest doprowadzane przewodem 1 przez zawór. Naciśnięcie pedału powoduje otwarcie zaworu i przepływ powietrza poprzez przewód 4 do silnika pneumatycznego i uruchomienie drzwiczek. Po jego zwolnieniu powietrze z silnika ucieka do atmosfery a drzwiczki się zamykają.